Sonic nozzle gas meter test bench GNP type
1、General
• GNP sonic nozzle test facility for gas meters is a new generation automatic test facility with high accuracy, high efficiency and good stability.
• The test facility is composed of sonic nozzle, dynamic image sampling system, test bench, oil-less vacuum pump, controlling gas circuit, single chip system and PC etc. It adopts sonic nozzle as main standard, the nozzles will be selected automatically by PC according to different flow rate. Single chip and high accuracy A/D conversion technology are introduced to automatically measure temperature, pressure and humidity, involved in error calculation and correction. Thus to ensure accuracy of test facility. The whole system can realize full automatic test under PC control and has the function of original data saving, query and printing.
• The test facility can carry out automatic test towardsG1.6, G2.5, G4.0 diaphragm gas meter according to JJG577-2012. The system is with dynamic image sampling, bar code scanning input, auto receive reed switch and pulse signal of gas meter, auto compensation for temperature and pressure, error judgment, data query, storage and printing function.
2、Main Characteristic
• Suitable for test error of G1.6,G2.5,G4.0 domestic diaphragm gas meter under three flow rate Qmax,0.2Qmax and Qmin
• Adopt Venturi sonic nozzle as its standard,automatically select the best nozzle combination by computer according to different flow rate.
• Several gas meters to be tested simultaneously in series connection which greatly improve test efficiency
• Automatically select to test left inlet or right side inlet gas meter by switchover valve
• Reading signal of gas meter can be collected quickly,accurately and reliably via dynamic image processor
• Auto receive reed switch signal and pulse signal output by IC card gas meter
• After test,the system will automatically select the best gas meter gear rate
• Precision sensor,single chip system and high accuracy A/D conversion technology are introduced to automatically measure temperature, pressure, and humidity, involved in real-time error calculation and correction, thus to ensure accuracy of test bench
• The whole system can realize full automatic test under software control. Software interface is characterized by nice appearance and easy operation. Test data and analysis result can link up Excel so as to fulfill test report quickly. It also has data storage,certificate printing,analysis and statistic function.
3、Dynamic Image Processor Characteristic
• High efficiency: Dynamic image processor not only recognize gas meter counter but also count number and count time automatically. Thus,it means shorten run empty time before test gas meter. Especially for 0.2Qmax and Qmin, which greatly enhance efficiency. If we compare with optoelectronic sampling, dynamic image processor can enhance 20%-40% efficiency.
• Long distance test: Dynamic image processor has high pixel, we can enlarge 7cm between camera and gas meter.
• High collection rate: Dynamic image processor has above 99% success rate which collect gas meter signal. It overcomes manual adjustment, difficult to focusing, even collect signal unsteadily after adjustment.
Dynamic Image Processor
4、Ambient Working Condition
• Ambient temperature:20±5℃
• Relative humidity: 30%~80%
• Barometric pressure: 86~106 kPa
• Working media:air
• Power supply:220 VAC
• Compressed air supply:above 0.4MPa
• Facility size:4.8m(L)*0.61m(W)*1.8m(H)
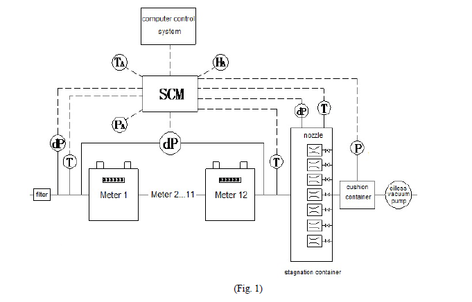
5、System Structure & Working Principle
5.1 System structure(Fig.1)
5.2 Working principle
The equipment adopts Venturi sonic nozzle as its standard. Venturi sonic nozzle is characterized by simple structure, stable performance, high accuracy, easy maintenance, long verification circle( 5 years ), no moving Parts etc.
(Sonic nozzles)
During operation, air flow in the pipe line is realized by pumping. Air enter meter under test through filter, left and right switchover system, then to stagnation container, and then to buffer container via sonic nozzle and control valve, finally into the atmosphere via oil-less vacuum pump. When gas flow through sonic nozzle reaches critical status, mass and flow rate passed though meter under test sonic nozzle will keep unchanged.
So flow though sonic nozzle within time is certain. Meanwhile, the system will receive gas meter sampling signal,temperature sensor signal, pressure sensor signal, humidity sensor signal,get error of gas meter after automatic correction towards those temperature,pressure and humidity influence factor.
6、Main Technical Specification
• System uncertainty:±0.5%
• Suitable to test G1.6,G2.5,G4.0 diaphragm gas meter
• Meter to be tested:6, 8, 12 pcs
7、Installation & Commissioning
• Installation procedure
• Connect test bench and computer
• Connect system power and air source
• Turn on computer, install database and special test software
8、Commissioning Procedure
• Check if all parameter setting is correct
• Check if communication between computer and test bench is normal
9、Software Installation
• System requirement
• Intel Pentium III 866 MHz CPU
• Windows XP or Windows7 system
• 2GB Free disk space
• 4X SPEED CD-ROM
• 2 USB interface
• RS-232 serial com por
10、Facility Picture
Sonic nozzle test facility for gas meter(12 positions)
11、Configuration List
Item | Core Parts | Brand | Parameter | Quality |
1 | Sonic nozzles | 0.016、0.025、 0.04、0.5、0.8、1.2、4m³/h | 7set | |
2 | Absolute pressure sensor | 80~120kPa | 1 set | |
3 | Pressure sensor | ±10kPa | 3 set | |
4 | Temperature sensor | 0-50℃,±0.2℃ | 3 set | |
5 | Humidity sensor | 0~100%,≤3% | 1 set | |
5 | Dynamic Image Processor | 7 auto-focus | 12 set | |
6 | Vacuum Pump | 1.25KW | 1 set | |
7 | PC | I39100/4G/SSD256 | 1 set | |
8 | Priter | A4 | 1 set | |
9 | Valve system | / | 1 set |
Sonic nozzle gas meter test bench GNP type
1、General
• GNP sonic nozzle test facility for gas meters is a new generation automatic test facility with high accuracy, high efficiency and good stability.
• The test facility is composed of sonic nozzle, dynamic image sampling system, test bench, oil-less vacuum pump, controlling gas circuit, single chip system and PC etc. It adopts sonic nozzle as main standard, the nozzles will be selected automatically by PC according to different flow rate. Single chip and high accuracy A/D conversion technology are introduced to automatically measure temperature, pressure and humidity, involved in error calculation and correction. Thus to ensure accuracy of test facility. The whole system can realize full automatic test under PC control and has the function of original data saving, query and printing.
• The test facility can carry out automatic test towardsG1.6, G2.5, G4.0 diaphragm gas meter according to JJG577-2012. The system is with dynamic image sampling, bar code scanning input, auto receive reed switch and pulse signal of gas meter, auto compensation for temperature and pressure, error judgment, data query, storage and printing function.
2、Main Characteristic
• Suitable for test error of G1.6,G2.5,G4.0 domestic diaphragm gas meter under three flow rate Qmax,0.2Qmax and Qmin
• Adopt Venturi sonic nozzle as its standard,automatically select the best nozzle combination by computer according to different flow rate.
• Several gas meters to be tested simultaneously in series connection which greatly improve test efficiency
• Automatically select to test left inlet or right side inlet gas meter by switchover valve
• Reading signal of gas meter can be collected quickly,accurately and reliably via dynamic image processor
• Auto receive reed switch signal and pulse signal output by IC card gas meter
• After test,the system will automatically select the best gas meter gear rate
• Precision sensor,single chip system and high accuracy A/D conversion technology are introduced to automatically measure temperature, pressure, and humidity, involved in real-time error calculation and correction, thus to ensure accuracy of test bench
• The whole system can realize full automatic test under software control. Software interface is characterized by nice appearance and easy operation. Test data and analysis result can link up Excel so as to fulfill test report quickly. It also has data storage,certificate printing,analysis and statistic function.
3、Dynamic Image Processor Characteristic
• High efficiency: Dynamic image processor not only recognize gas meter counter but also count number and count time automatically. Thus,it means shorten run empty time before test gas meter. Especially for 0.2Qmax and Qmin, which greatly enhance efficiency. If we compare with optoelectronic sampling, dynamic image processor can enhance 20%-40% efficiency.
• Long distance test: Dynamic image processor has high pixel, we can enlarge 7cm between camera and gas meter.
• High collection rate: Dynamic image processor has above 99% success rate which collect gas meter signal. It overcomes manual adjustment, difficult to focusing, even collect signal unsteadily after adjustment.
Dynamic Image Processor
4、Ambient Working Condition
• Ambient temperature:20±5℃
• Relative humidity: 30%~80%
• Barometric pressure: 86~106 kPa
• Working media:air
• Power supply:220 VAC
• Compressed air supply:above 0.4MPa
• Facility size:4.8m(L)*0.61m(W)*1.8m(H)
5、System Structure & Working Principle
5.1 System structure(Fig.1)
5.2 Working principle
The equipment adopts Venturi sonic nozzle as its standard. Venturi sonic nozzle is characterized by simple structure, stable performance, high accuracy, easy maintenance, long verification circle( 5 years ), no moving Parts etc.
(Sonic nozzles)
During operation, air flow in the pipe line is realized by pumping. Air enter meter under test through filter, left and right switchover system, then to stagnation container, and then to buffer container via sonic nozzle and control valve, finally into the atmosphere via oil-less vacuum pump. When gas flow through sonic nozzle reaches critical status, mass and flow rate passed though meter under test sonic nozzle will keep unchanged.
So flow though sonic nozzle within time is certain. Meanwhile, the system will receive gas meter sampling signal,temperature sensor signal, pressure sensor signal, humidity sensor signal,get error of gas meter after automatic correction towards those temperature,pressure and humidity influence factor.
6、Main Technical Specification
• System uncertainty:±0.5%
• Suitable to test G1.6,G2.5,G4.0 diaphragm gas meter
• Meter to be tested:6, 8, 12 pcs
7、Installation & Commissioning
• Installation procedure
• Connect test bench and computer
• Connect system power and air source
• Turn on computer, install database and special test software
8、Commissioning Procedure
• Check if all parameter setting is correct
• Check if communication between computer and test bench is normal
9、Software Installation
• System requirement
• Intel Pentium III 866 MHz CPU
• Windows XP or Windows7 system
• 2GB Free disk space
• 4X SPEED CD-ROM
• 2 USB interface
• RS-232 serial com por
10、Facility Picture
Sonic nozzle test facility for gas meter(12 positions)
11、Configuration List
Item | Core Parts | Brand | Parameter | Quality |
1 | Sonic nozzles | 0.016、0.025、 0.04、0.5、0.8、1.2、4m³/h | 7set | |
2 | Absolute pressure sensor | 80~120kPa | 1 set | |
3 | Pressure sensor | ±10kPa | 3 set | |
4 | Temperature sensor | 0-50℃,±0.2℃ | 3 set | |
5 | Humidity sensor | 0~100%,≤3% | 1 set | |
5 | Dynamic Image Processor | 7 auto-focus | 12 set | |
6 | Vacuum Pump | 1.25KW | 1 set | |
7 | PC | I39100/4G/SSD256 | 1 set | |
8 | Priter | A4 | 1 set | |
9 | Valve system | / | 1 set |
As living standards improve and awareness of environmental protection grows, people have changed from using conventional fuels such as firewood and coal, which are wasteful and polluting, to using clean energy such as natural gas and gas, or even electricity. This is where the Diaphragm gas meter co
The diaphragm civil gas meter is a positive displacement natural gas flow meter used by utility companies for billing residential and light commercial applications. Its advantages are its proven technology, reliable measurement, and consistent quality. Next, we take a look at the Diaphragm gas meter
The IC card prepaid diaphragm gas meter is a Diaphragm gas meter with a prepayment function. It is based on a Diaphragm gas meter with sending device, using an IC card as a medium, equipped with an electronic controller and an electric valve. This IC card prepaid diaphragm gas meter supports various
The IC card prepaid industrial gas meter is a commercial and industrial Diaphragm gas meter that incorporates the best of domestic and international products. It has been developed with the innovative spirit and experience of Kinhil meters for over 20 years. These gas meters are suitable for the met
The IoT intelligent diaphragm gas meter is a Diaphragm gas meter based on Internet+ technology. It provides the gas company with timely and accurate information about the meter. At the same time, it facilitates remote control and remote management of the gas meter by the gas company. The base meter
Here first borrowed from a person in the industry: If NB-IoT technology is to let the gas meter insert the wings of intelligent communication, then ultrasonic metering technology is to inject the core muscle group for the gas meter, in the measurement technology has been essentially improved, for th
Nowadays, the Ultrasonic gas flow meter industry is constantly progressing in various countries, and Ultrasonic gas flow meter companies are gradually embarking on the road of survival and development by fine management, improving the quality of service, and charging for safety management and meteri
The Ultrasonic gas flow meter can be used in a variety of ways: ultrasonic, pressure, temperature, and other multi-probe compliant detection and control technology for six categories of oversized ranges. A special type of chamber with a patented invention enables self-calibration and the shortest st
A Data management platform is a system that improves on the traditional energy payment model by using the mode of purchasing, using, and automatic disconnection of electricity to achieve the integration of overage, charging, and control, making energy payment easier, and more efficient. The Data com
The Data management platform is used in the areas of energy management in commercial complexes, residential areas, office buildings, shops, schools, factories, and mines. It also reduces staff and costs during the period, significantly reducing the management's billing costs and thus promoting the e
As living standards continue to improve, people are becoming more and more environmentally friendly, and conventional energy sources that pollute heavily are gradually being abandoned. With the construction and popularisation of gas transmission pipelines, gas meters have sprung up, from mechanical
Ultrasonic gas meter to nip gas accidents in the budRecently, gas explosions have been on the minds of people all over the world, and news about gas safety is all over the place. With the rapid increase in the number of gas users, gas safety accidents in cities have become the third biggest killer i
An Ultrasonic gas meter is the basis for energy trade settlement. In recent years, electronic metering methods such as ultrasonic and thermal have been favored because they are more accurate and reliable, stable in operation and maintenance-free, and have brought an important change to the gas meter
As living standards continue to improve, people are becoming more and more environmentally conscious and conventional energy sources that pollute heavily are gradually being abandoned. In the 1960s and 1970s, the state also introduced gas pipeline policies and corresponding measures. With the constr
An Ultrasonic gas meter uses sound waves to determine the speed at which a fluid flows through a pipe. Under non-flowing conditions, the frequency of the ultrasonic wave transmitted into the pipe is the same as the frequency it reflects from the fluid. Under flow conditions, the frequency of the ref
A Gas leakage detector is used for leak detection, gas tightness testing, and predictive maintenance. The detection of ultrasonic waves usually refers to the frequency band higher than 20 kHz, while the upper limit of the human ear can receive 16.5 kHz, and the use of this characteristic, ultrasonic
How to use the Gas leakage detectorA Gas leakage alarm is an instrument used to detect the concentration of gas leakage, which can detect the concentration of gas in the environment. For example, there are some toxic and hazardous gases or combustible gases in industrial production, so you can quick
The rapid development of the city gas business has placed gas metering on a rather important footing. Gas meters are not only used for transmission measurement in gas pipelines and gas measurement in industrial and mining enterprises and welfare institutions but are also popularized in millions of h
According to statistics, the online usage of diaphragm civil gas has exceeded 50 million units. With the development and application of natural gas in China, the first and second lines of the "West-East Gas Transmission" project and the "Shaanxi Gas to Beijing" project, which have been completed or
A diaphragm civil gas meter is an instrument for accurate measurement of pipeline gas flow, which is widely used in petroleum, chemical, electric power, industrial boiler, and other gas metering fields, applicable to natural gas, city gas, propane, butane, ethylene, air, nitrogen, and other gases. T